商家后台使用手册
使用说明
商家后台登录地址:
说明:商家后台用于管理每个商家独立的订单等信息,比较常用
登录地址:https://www.tidukongjian.com/merchant
登录商家后台后位置信息操作
首页
首页可以查看交易量、交易金额
门店配置中心
门店配置
配置logo,名称,状态,位置,营业时间,电话,电控端口,门店环境,关联设备,满房提示,打扫期间限制下单,门店公告,注意事项,体验流程。
其他设置
wifi账号,wifi密码

账号管理
添加账号,删除账号,编辑账号头像、名称、登录账号、登录密码
每个门店可以自行配置多个账号用于各个门店的日常运营,目前各个账号的权限没有做进一步的更新。(截至2025年10月5号)
常见问题
新增问题,编辑问题,问题描述,问题答案,日期,操作

区域管理
排序,名字,状态(正常营业、暂停营业),操作(编辑、删除、关联设备、位置类型、关联位置)

订单管理
根据手机号/昵称、订单日期、订单状态进行搜索
昵称、手机号、预定名称、支付方式、状态、是否有退款、订单金额、支付金额、优惠金额、备注、订单号、订单类型、创建时间、操作

时长卡
时长卡
名称、类型、门店、区域、价格、创建时间、操作

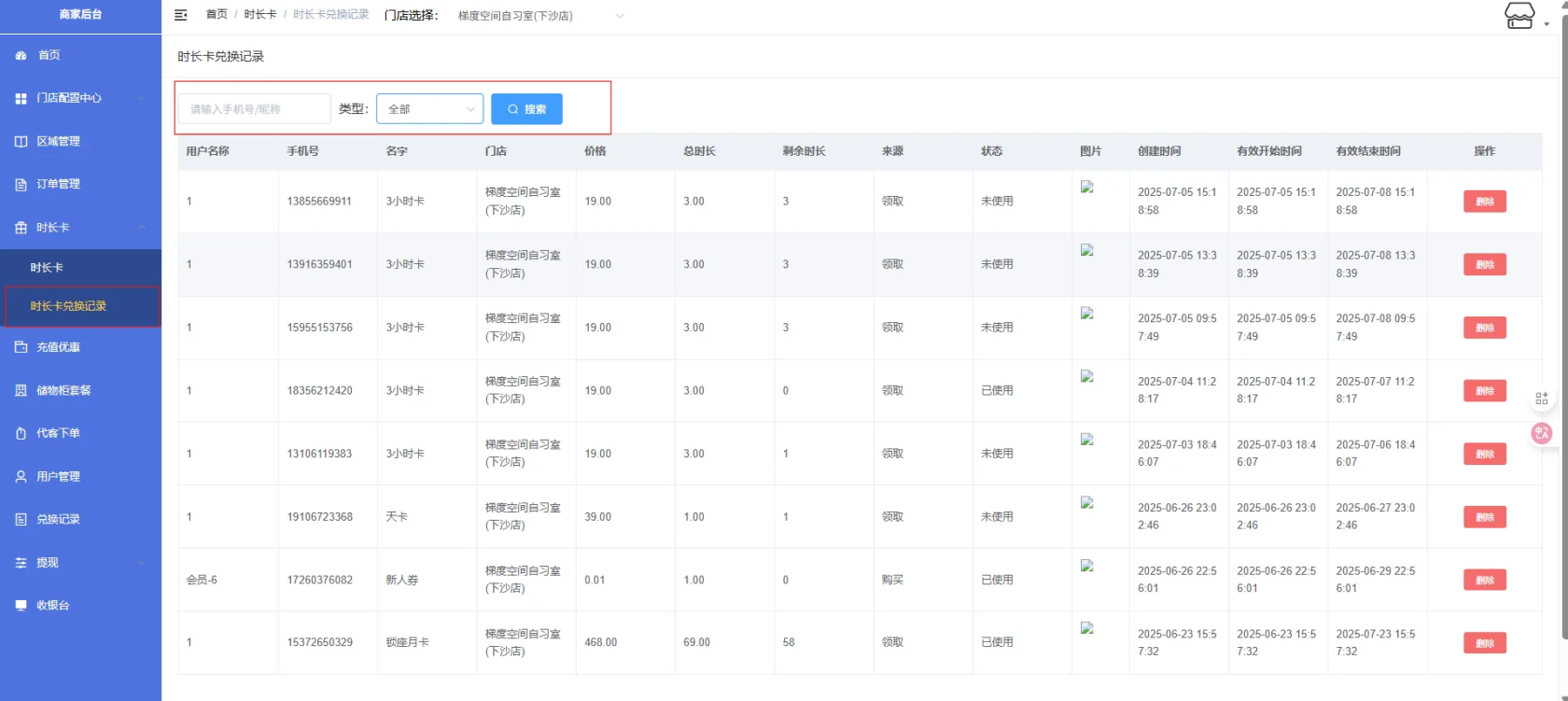
时间卡兑换
根据手机号/昵称,选择类型(全部、抖音、美团),然后搜索
用户名称、手机号、名字、门店、价格、总时长、剩余时间、来源、状态、图片、创建时间、有效开始时间、有效结束时间、操作(删除)

充值优惠
可以添加充值金额、赠送金额、备注,并编辑或者删除操作

储物柜套餐
套餐类型(次卡、期限卡)、可用次数或天数、失效期限(天)、价格、创建时间、编辑或者删除操作

代客下达
可以选择用户、区域、位置、小时、时间

用户管理
根据手机号/昵称搜索
显示昵称、手机号、头像、是否拉黑、操作(赠时长卡、更改余额、拉黑)

兑换记录
根据手机号/昵称,选择类型(全部、抖音、美团),选择日期(今天订单、七天订单、月订单、所有订单)搜索
昵称、手机号、优惠卷名称、优惠卷面值、团购价、状态、来源、卷code、兑换日期、第三方订单id、是否提点、提点金额、优惠卷被使用时间、优惠卷过期时间

提现
提现账号管理
账户(支付宝、微信)、名字、账号、操作(编辑、删除)

提现管理
提现金额,当前余额xx元,到账账户(支付宝、微信)

收入明细
备注、金额、之前余额、之后余额、日期

收银台
根据输入内容搜索、区域分类(全部、默认区域),可以选择开台,查询预定信息






















No comments to display
No comments to display